1. BSPP mõiste Hüdraulikavooliku liitmik, tavaliselt kutsusime BSP-d, mis on BS 5200 Standard koos BSPP keermega, samuti ISO8434-6 standardühendusega, kuid standardi voolikuga ühendamine 60 kraadiga on ISO 12151-6. See on ühendus BSP 60 kraadi koonuse adapteritega.
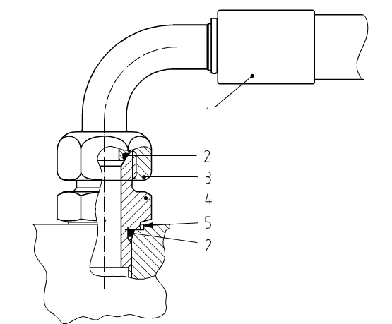
2. BSP hüdraulikavooliku ühendamise meetod, nagu nr. 1 on hüdraulikavooliku ühendus, millel on kruvitud voolikupesa, 2 on O-rõngastihend, 3 on Mutter, 4 on sirge stud-ühenduspesa, mis vastab standardile ISO 8434-6, 5 on r port vastavalt standardile ISO 6149-1.

3. BSP hüdraulikavoolikute kaks tüüpi:
![]() | ![]() |
| Isane 60 kraadi voolik | Naine 60 kraadi istmevooliku ühendus |
1. BSP HOSE FITTINGS 12611


2. BSP HOSE FITTINGS 22611/22611-T


3. BSP HOSE FITTINGS 22691/22691-W


Kuum tags: BSP hüdraulikavooliku liitmikud, Hiina, tootjad, tarnijad, kohandatud, messing, swagelok, Parker, Stauff, Brennan, roostevaba teras

















