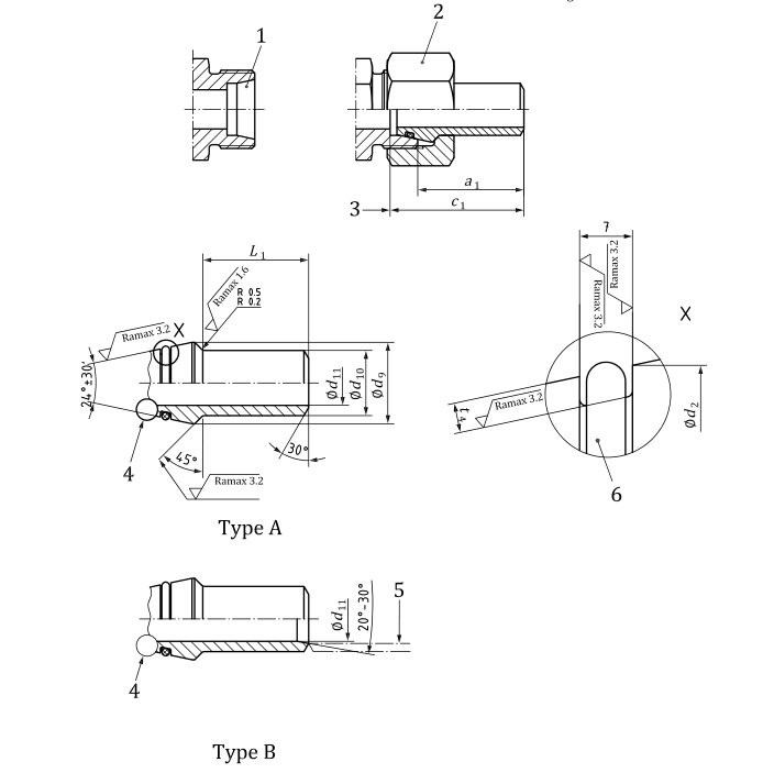
Keevitatud nippli mõõtmed vastavalt standardile ISO 8434-1 2018, sealhulgas:
Keevitatud nippel (WDNP) ja Weld-on redutseeriv nippel (WDRDNP)

Võti
1 24 ° koonuse ots (vt joonis 7)
2 toru mutter (vt joonis 9)
3 toru peatus
4 tootja poolt valitud liides
5 toru siseläbimõõt
6 O-rõngas
7 tootja poolt valitud O-rõnga soone laius








